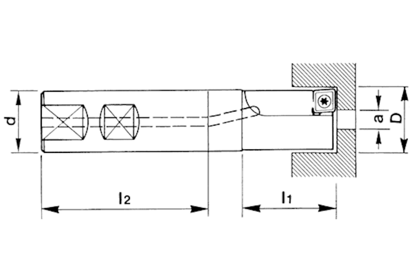
49038 14mm

Product recommendations

Vischer & Bolli

Produkte

Main Menu

Other

Language: English